獲取驗證碼
立即申請
了解萬米動態,掌握行業資訊,深度解析商城運營難題
如何通過數據化運營玩轉B2B分銷?
4542
在一個快速變化的數字經濟時代到來之際,順應變化甚至引領變化更為重要。數🧔據為王的時代,比你牛的人半夜都還在看數據、用數據,你還能酒足飯飽就是睡嗎?
對于B2B分銷的未來,大數據也是關鍵。相對零售而言,B2B商家其實ജ更依賴數據。畢竟B端的買家穩定性相對較高,他們在挑選產品時更加注重質量、供貨的穩定性以及產品形式等。
所以,咱們商家在選擇分銷系統時,"數💞據統計和分析”的功能也是重要的參考標準之一。目前萬米B2B分銷系統的“統計報表”版塊已正式上ꦕ線,針對不同的用戶角色可以配置自己需要的數據信息,讓各項指標一目了然:
一、假如你是老板,需要一眼看到每天的經營情況;
你可以登錄系統賬戶,配置我的看板,勾選上自己最關心的幾個看板,即刻搞定!

▽

(哇,一眼看到,一目了然)
二、假如你是網站運營,想知道這段時間的工作成果以及如何進行下一階段的工作。
1、你可先瀏覽最近商城的流量數據,再看交易、轉化情況;

△商城流量情況

△商城交易情況
2、你可根據來訪、下單、付款的數據分析轉化率是否正常?

(唔~最近這兩天各個環節轉化效果都不錯
晚上加班餐可申請全體加!雞!腿!兒~)
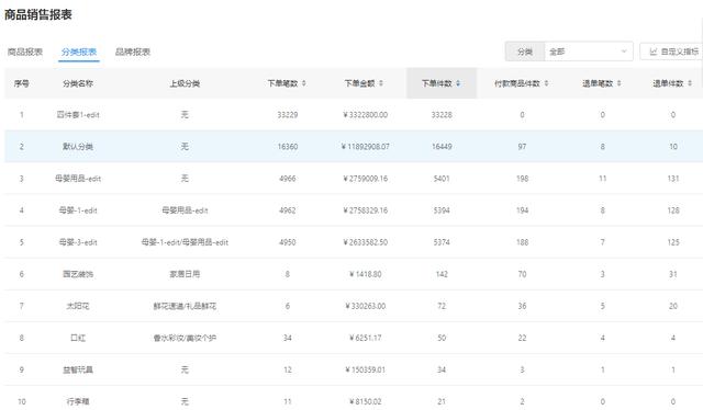
2、你還可以根據銷售報表,了解商品銷售的情況。看看哪些品類銷☂售的ജ比較好,哪些退貨比較多。對于銷量上不來、訂單退貨多的商品可以及時下架止損!對于銷量比較好的類目也可以加大投入哈!

△商品銷售報表

(△ 哇!母嬰類目越做越棒了呢~可以加強母嬰類目的投入哦)
三、假如你是客戶經理,想看看咱親愛的客戶們新近的動態怎樣?
1、你可以查看客戶等級的分布情況、地區分布情況,分析其是否合理。

△等級分布情況

△地區分布情況
2、你可以根據訂貨的情況調整用戶的等級,給予更優惠的采購價!對于退貨多的用戶,及時了解原因進行⛄調整。

(△ 發現一波鐵粉兒,趕緊把他們擼進懷里,好好關愛哦~)
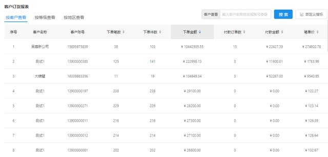
3、你還可以查看每個等級的用戶的訂貨情況以及各地區的訂貨報表。對于表現欠佳ജ的用戶等級進行原因排查,對于銷售額較高的地區進行重點關注,來一場專場訂貨♌會也未嘗不可喲。
△地區訂貨報表
(喲,最近這三門峽市的客戶給力,我們可以趁熱打鐵,遠征三門峽!
咦,山西大同怎么落后這么多了?還是我們的主場呢,趕緊找找原因!
還有很多地區銷量平平,同志們的革命尚未結束,hold住!hold住!)
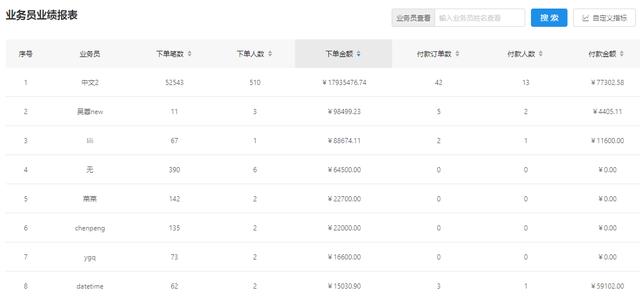
四、假如你是銷售主管,想快速了解團隊成員每一階段的表現?
你可以查看業務員業績報表,再相應了解退貨情況。根據這些指標綜合評估業務員的工作成果。

業務員業績報表
(畢竟有時賣的多退的也多,可不是什么好事)
數據統計報表,帶你玩轉B2B分銷運營。相對于第三方SaaS系統,我們的產品獨立部署、數據更私密。數據統計分析版塊支持按單品、分類、品牌深入分析,支持按詳細的客戶統計、業務行為統計、業務員業績統計等多維度的展示。其實,具❀體優勢遠不止上面提到的幾點啦……